
▲网友发帖称大连科技学院全员停发工资
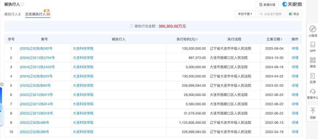
▲评论区流传出该校内部信8月23日,记者以家长身份致电大连科技学院求证此事,学校院办工作人员证实网传的《致全体教职员工一封信》内容属实股票知识配资论坛,但表示“现在学校已经在解决这个问题了股票知识配资论坛,政府不可能让学校停止运行,我们老师马上都上班了。”同日,记者致电该校主管部门辽宁省教育厅,电话无人接听。记者注意到,《致全体教职员工一封信》的落款时间为8月5日。根据天眼查信息显示,大连科技学院共有2条被执行人信息,被执行总金额超2.3亿元;共有35条历史被执行人信息,被执行总金额超35亿元。其中,8月4日新增1则恢复执行信息,执行标的超1.3亿元,执行法院为辽宁省大连市中级人民法院。
▲大连科技学院2条被执行人信息,总金额超2.3亿元。
▲大连科技学院历史被执行人信息共35条,总金额超35亿元。公开资料显示,大连科技学院位于辽宁省大连市旅顺经济开发区,是一所理工类民办高校。学院于2002年7月建校,前身为大连交通大学信息工程学院,是大连铁道学院与大连阳光世纪教育产业投资有限公司(下称“大连阳光世纪教育”)共同举办的独立学院。2011年,学校改制为民办普通本科大连科技学院。“我收到的录取通知里要求10天内交齐学费。”一位该校新生告诉记者,自己8月初就已交齐所有学费。大连科技学院的收费公告显示,该校本科专业学费为每年26000元-28000元,专科学费为每年18000元。8月17日,大连科技学院官方微信公众号发布2025年招生情况,已面向全国22个省份录取本科新生2900余人。学校目前在校生大约1.2万人。一所高校,为什么能欠这么多钱?记者梳理发现,大连科技学院背后的企业,大连阳光世纪教育同样官司缠身,而学校副董事长、常务副校长高小涵,是大连科技学院的法定代表人,同时也是大连阳光世纪教育法定代表人。目前,高小涵共有22条被限制高消费的记录,案件多集中在金融借款合同纠纷、债权转让纠纷、典当纠纷等。一位大三在校生告诉记者,关于学校全员停薪的事,自己也是从网上看到,内部并未引起过多讨论,但是学校近期新装修了宿舍楼,并在招生季多次宣传寝室环境。此前,该校还曾发布2025年招聘计划,招聘专任教师、专业带头人、辅导员等42人。来源:深圳新闻网、中国新闻网版权归属原作者 如有侵权请联系删除责编:杜若森 审核:王世洋推荐阅读13.2万人→2988人!胖东来新店公示招聘进度河南这些单位在招人!河南45条预警生效中,雷暴大风、降水量将达50毫米以上长沙通报地下代孕机构行政处罚情况周口市主要负责同志职务调整
觉得不错,点个“在看”↓↓↓举报/反馈
胜亿策略提示:文章来自网络,不代表本站观点。